Убрать
Регистрация
email:

Забыли?
Пароль:

Вконтакте  Facebook  Мой мир mail.ru  Одноклассники

Новости  Саровские новости по RSS

 Обсуждения новостей »



Последние новости

14фев. "День короткометражного кино": Художественная галерея приглашает

Все новости за месяц

Последние новостиГосударство и власть Экономика и бизнес Наука и образование Общество Происшествия Спорт Отдых и развлечения


Заголовки за неделюЗаголовки за месяцОбсуждения новостей
Читайте нас в соцсетях:





ВКонтакте:

Золотой порошок
В Ядерном центре рассказали о наградах за инновации

15 мая 2017, 11:42 - ВНИИЭФ

Золотой порошок В Ядерном центре рассказали о наградах за инновации

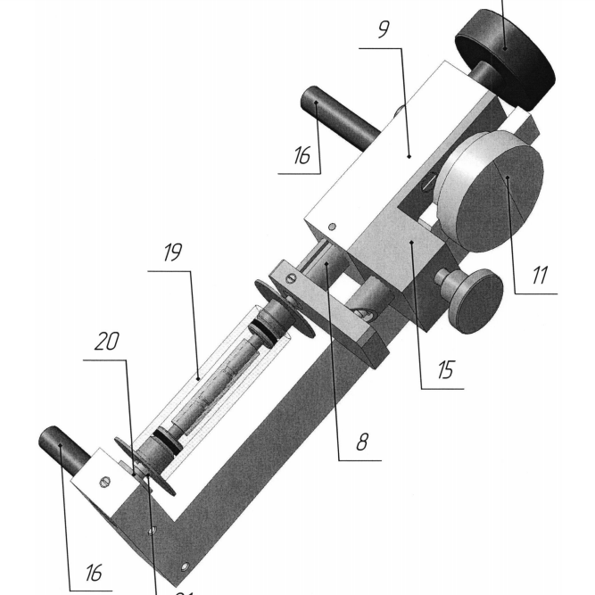
Патентованные идеи внииэфовцев завоевали 4 медали на Международном Салоне инноваций и изобретений «Innova-Barcelona».

Об этих разработках мы подробно рассказывали на прошлой неделе, а с более строгим описанием можно ознакомиться в последующем пресс-релизе ВНИИЭФ.

К примеру, изобретение нового типа баллистической установки помогло существенно понизить перегрузки в процессе разгона на аэротрассах, а электроизмеритель порошков работает даже с нестабильными материалами и даёт погрешность всего 3%. В итоге разработки ВНИИЭФ завоевали 3 золотые и 1 серебряную медали.

В прошлом году наши учёные получили медали за «горячий тефлон», быстроуничтожающуюся «флешку» и профильный поисковик,а также за сварку взрывом двух разных металлов.


    Прокомментировать


Нет комментариев

Написать

Если вы зарегистрированы у нас, войдите на сайт.
Если у вас есть аккаунт в одной из социальных сетей, нажмите:
Вконтакте  Facebook  Мой мир mail.ru  Одноклассники
или введите
Ваше имя: